Quick BI新交叉表设为树形展示时,如何让大类聚合展示而不是显示为“-”?
更新时间:
概述
本文主要介绍新交叉表设为树形展示时,使大类聚合展示结果而不是显示为“-”的方法。
详细信息
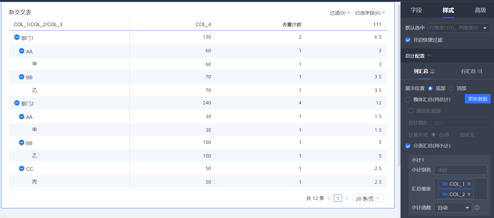
使用新交叉表,将展示方式设为树形展示时,会发现上级维度的结果会展示为“-”,如何让这里展示为当前类的聚合结果呢?

方法如下:
- 在当前样式中下拉,找到总计配置标签,在列汇总中勾选分类汇总(列小计)。

- 在汇总维度中勾选需要汇总的维度项,然后点击字段标签,更新图表即可。

适用于
- Quick BI
说明:本文适用于公共云4.2.3版本可视化图表模块。
该文章对您有帮助吗?