在远程日志服务的控制台,可查看已创建的日志拉取任务,并对其进行修改任务别名、结束任务、追加设备等操作。
前提条件
已创建日志拉取任务。具体操作请参见新建任务。
查看任务
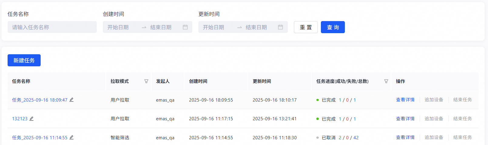
在页面左侧导航栏,选择远程日志 > 任务列表,查看已创建的日志拉取任务的列表。

设置过滤条件,搜索/筛选日志拉取任务。

选项
说明
任务名称
在文本框输入关键字,模糊匹配任务的名称,查询名称中包含指定关键字的任务。
创建时间
从日历中选择日期和时间,查询在指定时间发起的任务。
更新时间
从日历中选择日期和时间,查询在指定时间更新的任务。
拉取模式
单击筛选按钮,从快捷菜单中选择1个或多个选项,筛选指定类型的任务。
说明任务类型包括用户拉取/智能筛选2个选项。
任务进度
单击筛选按钮,从快捷菜单中选择1个或多个选项,筛选指定进度的任务。
说明任务进度包括进行中/已取消/已完成3个选项。
在任务列表,单击任务名称列的链接,或者单击操作列的查看详情链接,打开指定任务的任务详情页面。

任务详情说明
基本信息
用于显示拉取任务的基本信息。

单击扩展按钮,展开/隐藏基本信息内容。
设备
用于显示拉取设备,及其拉取进度。

在设备列表,单击设备名称,在右侧区域显示指定设备的日志信息。
设备日志
用于显示设备日志的统计数据和日志详情。

修改任务名称
查询并定位到任务。
在任务列表的任务名称列,单击编辑按钮,修改指定任务的名称。

结束任务
查询并定位到任务进度为进行中的任务。
在任务列表的操作列,单击结束任务按钮,终止指定任务。

该文章对您有帮助吗?

