概述
内网域名解析操作日志包括Privatezone操作日志以及自建DNS操作日志,提供5个维度的日志查询,分别是内置权威、缓存管理、转发管理、递归管理、入站终端节点
操作日志分类
一、内置权威
域名操作日志
指内网权威解析内置权威域名列表中的域名管理操作日志,可以查看操作时间、操作对象、操作行为、操作内容、操作人IP、操作人账号类型。操作行为包括添加域名、删除域名、关联域名生效范围等。

解析记录操作日志
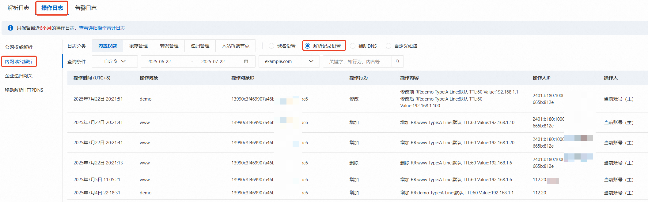
可以查看内网域名解析中某个内置权威域名解析记录操作日志,包括操作时间、操作对象、操作行为、操作内容、操作人IP及操作人的账号类型。操作行为包括添加、删除、修改解析记录等。

辅助DNS操作日志
主辅DNS之间的数据同步记录日志。

自定义线路操作日志
可以查看所有自定义线路操作日志,包括操作时间、操作对象、操作行为、操作内容、操作人IP及操作人的账号类型。操作行为包括添加、删除、修改自定义线路等。

二、缓存管理
可以查看缓存保持域名操作日志,包括操作时间、操作对象、操作行为、操作内容、操作人IP及操作人的账号类型。操作行为包括添加、删除、修改缓存保持域名及关联解绑生效范围等。
三、转发管理
转发规则操作日志

出站终端节点操作日志

四、递归管理
Privatezone的递归为基础功能,不涉及操作日志。此处的操作日志只涉及自建DNS。

五、入站终端节点
只有Privatezone场景涉及入站终端节点的配置,自建DNS不涉及。

规则与限制
查询时间限制:操作日志查询时间限制为6个月。
操作方法
登录 云解析DNS-日志服务页面。
在日志服务页面选择 操作日志 页签,产品选择内网域名解析。
该文章对您有帮助吗?